机器人解决方案

  • 管道焊接机器人的制作方法

    管道系统的焊接机器人。 背景技术:管道是流体的常用运输方式之一,具有占地空间小、成本低等优点。管道系统的焊接式组合与焊接修复通常采用人工的方式,具有成本高、危险性大、管道内交错变化多,行走变道难,工作难度大等不足,而现有的焊接机器人又无法满足管道系统多样性的需求。 技术实现要素:针对上述现有技术存在的问题,本发明提供一种管道焊接机器人,该装置结构简单、操作灵活,能够在管道系统内全方位自如运动,

    2019-12-17 aipaae

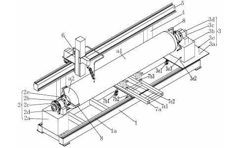
  • 罐体焊接机器人

    本实用新型涉及焊接领域,特别涉及一种罐体焊接机器人。背景技术[0002]目前,在一些罐体焊接加工过程中,对罐体的环缝焊接通常采用焊接变位机的自动焊接,自动焊接在解决人工焊接质量和效率方面取得了很大进展,但是对一些较大型的罐体,采用焊接变位机难以实现环缝和直缝的自动焊接。发明内容[0003]本实用新型的目的是为了克服上述背景技术的不足,提供一种罐体焊接机器人。[0004]为了实现以上目的,本实用新型

    2019-12-17 aipaae

  • 焊接机器人移动作业平台的制作方法

    焊接机器人移动作业平台的制作方法 【专利摘要】本实用新型涉及机械加工设备领域,公开了一种焊接机器人移动作业平台。它包括移动平台、轨道,轨道由两条平行的铁轨组成,所述移动平台的表面上安装有作业台面,所述移动平台的底部设有与所述轨道相适配的地轮,所述地轮的侧壁上设有定位孔,所述轨道的侧壁上设有数个制动孔,所述定位孔与所述制动孔的规格相适配,所述轨道的下方铺设有数条相互平行的地轨座板。当移动平台在轨道上

    2019-12-17 aipaae

  • 双龙门升降式翻转机的制作方法

    双龙门升降式翻转机的制作方法 技术领域: 本发明涉及一种焊接变位设备,尤其是双龙门升降式翻转机。 背景技术: 为提高产品质量、提高生产率以及减低焊工劳动强度,在工程机械、铁路、桥梁、金属结构等制造业中,焊接机器人及其配套的焊接变位设备的应用越来越多。其中,对于大尺寸(长度及宽度)工件的焊接,需要焊接变位设备适当变换位置将工件调整到最佳位置进行焊接。例如,水泥泵车的臂架(图8所示),通常尺寸长达十几

    2019-12-17 aipaae

  • 焊接变位机按照使用方法

    焊接变位机根据使用方式也有不同的分类.主要有以下几方面:   1、对云南昆明焊接变位机的功能要求:指变位机械应该能实现什么动作,如平移、升降或者回转等.如果是平移,是直线平移还是曲线平移;如果是回转运动,是连续回转还是间歇翻转等.还要看是焊接变位机是独立运动还是与机器人做协同运动;机器人协同运动的功能更强大,推荐使用协同运动焊接变位机。  2、对运动速度的要求: 必须明确是快速还是慢速,是恒速还

    2019-12-17 aipaae

  • 机器人变位机选型配置方式机器人工作站

    ■ I型变位机采用一端主动另一端随动的结构,主动端和随动端有两个支柱支撑,立柱下面是连接底座。整体结构紧凑,能实现工件绕水平轴±360°。额定转速(rpm)15最大转速(rpm)20负载(kg)300工装框架(mm)长≤2200宽≤800自动翻转角度±360°翻转重复定位精度(mm)±0.05(半径500mm处)■ 双I型变位机是由两台绕水平轴旋转的单轴I型变位机组成。能实现工件绕水平轴±360°

    2019-12-13 aipaae

  • 铝合金电极焊接解决方案

    云南铝合金电极焊接解决方案

    2019-12-13 aipaae

  • 焊接机器人的可以为您做什么?

    焊接机器人的可以为您做什么?它有很多优点的:(1)稳定和提高焊接质量,保证其均匀性。焊接电流、电压、焊接速度、焊接干伸长长度等焊接参数决定了焊接结果。采用机器人焊接时,各焊缝的焊接参数是恒定的,焊接质量受人为因素影响较小,降低了对工人操作技术的要求。因此,焊接质量稳定。而手工焊接时,焊接速度、干伸长等都在变化,因此很难达到质量均匀性。(2)改善劳动者的劳动条件。机器人焊接工人只用于装卸工件,远离焊

    2019-12-05 aipaae

首页
机器人
案例
联系